Even in 2023, companies can still raise hundreds of millions without any proof of product market fit.
Since co-founding their startup five years ago, ex-Apple executives Bethany Bongiorno and Imran Chaudhri have used a selective stream of buzzwords without mentioning what their company will even do. Their website offers that their technology “improves the human experience” and is “built on trust” and that interactions with it will “feel magical”—all grossly vague phrases you could also use to describe your child’s first lap-sit with Santa Claus at Macy’s.
But this isn’t some seed-stage stealth operation. In the last five years, their company—called Humane—has hired some 200 people across San Francisco, New York, and other cities, about 40% of whom have spent some amount of time working at Apple. With no product to debut or even talk about publicly, the cofounders have raised $241 million from investors like OpenAI’s Sam Altman, the renowned solo VC and ex-Stripe engineer Lachy Groom, and firms like Steve Jang’s Kindred Ventures, Tiger Global, and SoftBank. Microsoft corporate vice president of engineering for design and technologies, Rubén Caballero, Salesforce’s Marc Benioff, OpenAI’s Altman, and PCH International CEO Liam Casey are advising the company.
Yesterday the company said it had raised its latest $100 million in funding and that strategic investors including Microsoft and LG were teaming up with the company—adding to a long list of funding announcements, hiring updates, and promotional videos that lack an actual product. Bongiorno, who is CEO, and Chaudhri, chairman and president, told me this week that they have built a new “mobile compute device” as well as a “new software distribution platform,” but don’t try asking what that means. The product will launch in June, according to a company spokeswoman—on what they hope will be their own terms.
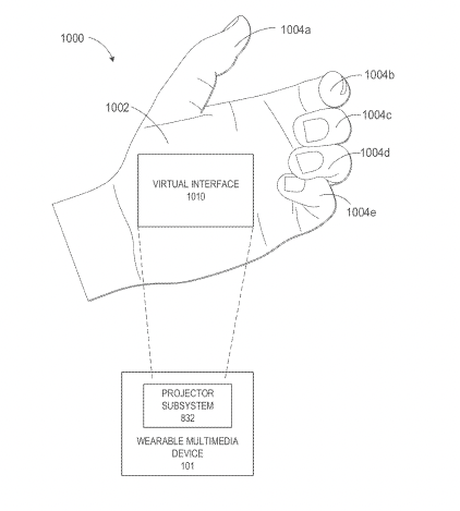
A series of filed patents reveal at least some sense of what the team has been working on all these years. A patent published in Dec. 2022 mirrors the weird teaser video the company published in July and suggests that Humane is using sensory data from a wearable device to perform smartphone activities like writing messages, playing music, or opening Twitter via a projection on a person’s left hand. Here’s what that would look like:


Bongiorno and Chaudhri told me they are building a software platform on both the device and in the cloud, and that the cloud platform will sit on Microsoft Azure and call out to service APIs from other partners. Its device-native software platform will use existing OpenAI models, machine learning models they are developing together, and their own models, they say.
However their product works, it’s simply mind-blowing to me they have raised three major rounds without any kind of stress test as to whether people will actually use what they are building. This is more typical for a seed or Series A investment, where investors are taking a smaller vote of confidence on an idea and a strong team—not for two subsequent Series B (where Humane was valued at $800 million, per PitchBook) and Series C rounds. Humane won’t comment on this round’s valuation.
I sat down with two of Humane’s earliest investors: Jang, who led the most recent round and co-led the seed, and Khaled Jalanbo of Valia Ventures, who also co-led the seed, to try to better understand the appeal.
“Anything where you’re building new systems design, all the way from the chipset through hardware, and rethinking how A.I. and applications and services all work together—it takes more resources—that’s the moonshot that this represents,” says Jang, who acknowledges this is “not the standard way of building a startup,” but points out how OpenAI was built for seven years before it released the public version of GPT last winter.
Jalanbo says a key strength is this specific team, which also includes Patrick Gates, Apple’s former head of engineering for iCloud, FaceTime, iMessage, and APNS. Bongiorno was director of iOS and macOS software engineering program management at Apple and Chaudhri was director of design, leading design for software and hardware user experience.
“It’s truly a one-of-a-kind leadership team that’s shaped the way we interact with technology,” says Jalanbo, adding later: “There’s probably dozens of people at that company that, if they were founders, on their own, would have the ability and experience to start companies.”
But not all VC firms are going to take such expensive bets on pre-revenue companies—particularly in this market.
“A company generating a dollar of revenue is massively de-risked to a company generating zero dollars of revenue,” Jett Fein, a consumer tech-focused partner at Headline, told me yesterday as we discussed today’s newsletter. He adds: “I don’t remember a single successful tech company that raised that much capital pre-launch. There’s a graveyard of companies that didn’t have success.”
One that comes to my mind would be the segway scooter, once referred to as “Ginger” during its ultrasecret, overhyped prelaunch—when Jeff Bezos, John Doerr, and Steve Jobs were all touting the project, promising it would change mobility forever. We know how that one turned out.
“Like all companies, until the product is in the market, we don’t know,” Jalanbo says of Humane. “But that was a bet we’re willing to take. We really want this company to exist. We think the mission is important, and we really love working with a team, and we think that they’re really experienced and thoughtful and have got a really great group of investors and strategics around them.”
See you tomorrow,
Jessica Mathews
Twitter: @jessicakmathews
Email: jessica.mathews@fortune.com
Submit a deal for the Term Sheet newsletter here.
Jackson Fordyce curated the deals section of today’s newsletter.
VENTURE DEALS
- WHP Global, a New York-based brand management firm, raised $375 million in funding from funds managed by the private equity group of Ares Management Corporation.
- Consensus, a Lehi, Utah-based demo automation platform, raised $110 million in funding from Sumeru Equity Partners.
- Humane, a San Francisco-based A.I. hardware and services platform, raised $100 million in Series C funding. Kindred Ventures led the round and was joined by Tiger Global, Valia Ventures, Qualcomm Ventures, Forerunner Ventures, Lachy Groom, and OpenAI founder Sam Altman.
- ClearFlame Engine Technologies, a Chicago-based clean and renewable fuels provider for heavy-duty engines, raised $30 million in Series B funding. Mercuria Energy Group led the round and was joined by Breakthrough Energy Ventures, New investors, Rio Tinto, and WIND Ventures.
- Vantage, a New York-based financial operations platform, raised $21 million in Series A funding. Scale Venture Partners led the round and was joined by Andreessen Horowitz, Harpoon Ventures, and Cloudflare cofounder and CEO Matthew Prince.
- XGS Energy, a Palo Alto-based geothermal energy technology company, raised $19 million in Series A funding led by Anzu Partners.
- Fly by Jing, a Los Angeles-based Chinese food brand, raised $12 million in Series B funding from Prelude Growth Partners and Pendulum.
- FOUNT Global, a Hamburg-, London-, and Washington, D.C.-based employee feedback platform, raised $8 million in Series A funding. Lavrock Ventures led the round and was joined by Osage Venture Partners and Grotech Ventures.
- Owen’s Craft Mixers, a Redwood City, Calif.-based cocktail mixer company, raised $10 million in Series C funding. NBA athlete Jimmy Butler, Live Nation, and others invested in the round.
- Wave, a San Francisco-based mental health platform, raised $6 million in seed funding. Sante Ventures led the round and was joined by Hannah Grey VC, Joyance Capital, Gaingels, and Telocity Ventures.
- Elyn, a Paris-based payments and return solution, raised $2.7 million in funding from Headline and Sequoia Capital.
- Adaptis, a Toronto-based modeling platform for buildings, raised $1.5 million in pre-seed funding. 2048 Ventures led the round and was joined by Powerhouse Ventures and Blue Vision Capital.
PRIVATE EQUITY
- Epiris acquired LoneStar Group, a West Midlands, U.K.-based pipeline components supplier and manufacturer for the energy industry. Financial terms were not disclosed.
- An affiliate of H.I.G. Capital acquired Polygon, a Milan- and Rome-based integrated health care maintenance services provider to hospitals in Italy and Spain. Financial terms were not disclosed.
EXITS
- Stellex Capital Management acquired David Brown Santasalo, a Huddersfield, U.K.-based gear systems company, from N4 Partners. Financial terms were not disclosed.
OTHER
- HNI Corporation agreed to acquire Kimball International, a Jasper, Ind.-based commercial furnishings company. The deal is valued at approximately $485 million.
- The Healing Company acquired Chopra Global, a New York-based health company. Financial terms were not disclosed.
SPAC
- Zero Nox, a Porterville, Calif.-based off-highway vehicle electrification provider, agreed to go public via a merger with The Growth for Good Acquisition Corporation, a SPAC. The deal is valued at $306 million.
FUNDS + FUNDS OF FUNDS
- Permira, a London and Menlo Park-based private equity firm, raised €16.7 billion ($17.6B) for a fund focused on buyouts.
- Salesforce Ventures, the San Francisco-based global investment arm of Salesforce, allocated $250 million for a fund focused on generative A.I.
- MUUS Climate Partners, a New York-based venture capital firm, raised $50 million for a fund focused on climate-focused investments.
PEOPLE
- Genstar Capital, a San Francisco-based private equity firm, promoted Ben Marshall to managing director, Deryn Jakolev and Chong Ni to principal, and Carson Ewanich to vice president, investor solutions.
- White Wolf Capital Group, a Miami-based investment firm, promoted Andres Gutierrez and Alon Debbi to managing director and Jordan Earnheardt to vice president.
This is the web version of Term Sheet, a daily newsletter on the biggest deals and dealmakers. Sign up to get it delivered free to your inbox.













