The next frontier for drones could involve using them to watch over your pet while you’re at work.
IBM (IBM) filed an application for a patent that was published Thursday for a drone that can function as a sort of mechanized dog-sitter and trainer. The goal is to create a drone that can properly feed, train, and prevent dogs, cats, and other domesticated pets from tearing up the house while owners are away.
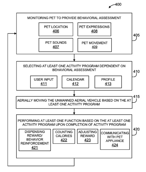
Unlike traditional drones that may come with an extra accessory like a camera to take pictures, IBM’s proposed drone would be stocked with several features specifically tailored to pet-sitting.
The drone would be outfitted with a variety of sensors and tools like a microphone to detect when an animal may be whimpering or barking, and a temperature sensor to figure out whether Fido is getting too cold.
Get Data Sheet, Fortune’s technology newsletter.
The drone would have a camera that it could use to track pets and determine if they are walking into areas of the house that are off-limits.
The camera would also help the drone observe the animal for peculiar behaviors like excessive panting or scratching at doors. If the drone concludes that the animal is acting strangely, it could initiate a training activity by causing an Internet-connected pet toy to launch a ball for an impromptu game of fetch.
During playtime, the drone could encourage the pet by either “providing a verbal praise” or dropping a little doggie treat from an onboard food dispensary. The food dispensary would also have the added bonus of containing a calorie tracker, so the drone doesn’t overfeed the animal and only divvies out what is needed.
If the animal misbehaves, the drone could issue a “vocalized warning and/or command” to stop the misdeed. The drone could also be linked to a web-connected collar “to direct a behavior reinforcement.”

The drone would also work with other Internet-connected household items, like thermostats, pet feeders, and pet doors. For example, in the case that the drone discovers that a dog needs to go to the bathroom, it may open a pet door to let it outside.
For workers who miss seeing their beloved pets during the day, they could periodically spy on and speak to their animals from their smartphones or computers via the drone’s cameras and video screen. People could even remotely command the drone to play with the animal if they feel their pet needs some extra attention.
It should be noted that IBM’s new drone patent does not necessarily mean IBM will actually build the futuristic pet sitter. Technology companies routinely file patents, but don’t act on every one.
However, the filing shows a fascinating description of how some companies are thinking about using drones for a variety of purposes than simply flying in high places.
An IBM spokesperson said the researchers involved with the patent application “saw an opportunity to leverage their knowledge about systems and drones and apply that to the pet industry, which is a multi-billion dollar market in the U.S. alone.”
Still, it’s unclear how animals would react to a drone that constantly hovers and monitors them while periodically issuing commands. A dog, for example, could feel threatened by the robot or not respond to the training activities if its human owner is not physically present.
IBM expects that it should be granted the patent “in the coming weeks,” the spokesperson said.











